新闻动态

  • 锅炉主给水再循环阀门(省煤器再循环阀门)报故障

    省煤器再循环的原理 省煤器再循环是指在锅炉烟气通过省煤器冷却后,将其余热再次回收利用的过程。具体原理为:将锅炉排出的高温烟气导入省煤器进行冷却,使烟气中高温余热被吸收。然后,将冷却后的烟气再导入锅炉进行再循环利用,以达到节能减排的目的。

    2024-07-26 科威

  • 阀门怎样进行强度试验和严密性试验?

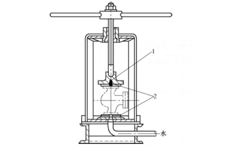
    阀门的强度试验和严密性试验一般在如图1所示的阀门水压试验台上进行。

    2024-07-19 科威

  • 如何理解阀门安装前的强度和严密性试验?

    阀门安装前,应作强度和严密性试验。试验应在每批(同牌号、同型号、同规格)数量中抽查10%,且不少于一个。对于安装在主干管上起切断作用的闭路阀门,应逐个作强度和严密性试验。

    2024-07-19 科威

  • 减温减压调节阀、大压差调节阀的选型与使用

    减温减压装置是现代工业中电力、化工、热电联产、集中供热(或供汽)、纺织等企业在热能工程中广泛应用的一种蒸汽热能参数转变装置和利用余热的节能装置。主要作用是把用户提供的蒸汽参数降到用户需要合适的温度和压力,以满足用户的使用要求,并且能够充分节约热能,合理使用热能。

    2024-07-10 科威

  • 辊压机液压系统常见故障及处理

    原因分析: 1、液压油不足,液位低;2、主油缸内泄;3、油泵损坏导致无法加压;4、加压电磁阀线圈不得电;5、减压阀损坏或卡死;6、安全溢流阀松动或溢流阀组卡死、损坏。

    2024-07-03 科威

  • 浆液循环泵排空门信号解读及故障处理技巧

    一年一度的迎峰度夏马上来临,用电量不断刷新,电力行业都在积极备战,天气变化无常,暴风雨也会不期而至,尤其梅雨季节,由于防护不当,经常发现浆液循环泵排空门DCS反馈信号为白色,导致浆液循环泵不能及时启动,严重时影响排口数据,如何处理呢?

    2024-07-01 科威

  • 矿浆电动调节阀:矿业生产中的重要角色

    矿浆电动调节阀的工作原理 矿浆电动调节阀由电动执行器和阀体组成。电动执行器接受控制系统的信号,驱动阀体进行开关或调节操作。当阀体开启时,矿浆通过调节阀流出,流量和压力随之改变。通过调整阀体的开度,可以精确控制矿浆的流量和压力。

    2024-06-28 科威

  • 中线蝶阀、单、双、三偏心蝶阀的区别

    蝶阀是根据旋转阀杆同时带动蝶板转动来做启闭的一种阀门,其关闭部件(阀瓣或蝶板)为圆盘状,通过围绕阀轴旋转来实现开启和关闭,主要在管道上用于切断和调节流量。蝶阀的启闭部件为一圆盘形的蝶板,在阀体内沿其自身轴线旋转,以实现开启或关闭的目的。全开至全关的角度通常小于90°。由于蝶阀和蝶杆本身缺乏自锁能力,需要在阀杆上安装蜗轮减速器以实现蝶板的精确定位。这样不仅可以赋予蝶板自锁功能,还可以使其在任意位置停留,同时改善阀门的操作性能。

    2024-06-28 科威

首页
产品
新闻
联系